膜片联轴器是由几组膜片(不锈钢薄扳)用螺栓交错地与两半联轴器联接,每组膜片由数片叠集而成,膜片分为连杆式和不同形状的整片式。
膜片联轴器靠膜片的弹性变形来补偿所联两轴的相对位移,是一种高性能的金属弹性元件挠性联轴器,不用润滑,结构较紧凑,强度高,使用寿命长,无旋转间隙, 不受温度和油污影响,具有耐酸、耐碱、防腐蚀的特点,适用于高温、高速、有腐蚀介质工况环境的轴系传动,广泛用于各种机械装置的轴系传动,如水泵(尤其是 大功率、化工泵)、风机、压缩机、液压机械、石油机械、印刷机械、纺织机械、化工机械、矿山机械、冶金机械、航空(直升飞机)、舰艇高速动力传动系统,经 动平衡后应用于高速传动轴系已比较普遍。
JZMJ型重型机械用膜片联轴器具有机械强度高、承载能力大、质量轻、结构尺寸小,传动效率和传动精度高、可靠性好、装拆方便,且具有无相对滑动,不需润 滑,使用寿命长、无噪声、耐酸、碱、防腐蚀等特点,可用于高温、低温和有油、有水和腐蚀介质的工况环境。适用于中、高速、大转矩轴系传动。以及各种机械装 置载荷变化不大的轴系传动,通用性极强。
使用与保养
1、安装前,应清洗两轴端面,检查端面键槽口等配合情况;
2、膜片联轴器安装以后,正常运转一个班,必须检查所有螺钉,如发现松动,必须拧紧,这样反复几个班,以保证不会松动;
3、为了防止膜片在高速运转发生的微动磨损,导致膜片螺栓孔出现微裂而损坏,可在膜片之间涂以二硫化钼等固体润滑剂或对膜片表面进行减磨涂层处理;
4、应避免长期超载使用和操作事故的发生;
5、在工作运转中,应经常检查膜片联轴器是否发生异常现象,如有异常现象发生必须及进维修;
6、在可能由于运转的膜片联轴器引起人身和设备事故的各个场地必须采取适当的安全防护措施。
膜片联轴器安装使用说明:
1. 安装前应首先检查原动机和工作机两轴是否同心,两轴表面是否有包装纸和碰伤,联轴器两个半联轴节内孔是否有杂物,内孔棱边是否有碰伤、如有应将轴、半联轴 节清理干净,碰伤用细锉处理好。 然后 检查两个半联轴节的内孔直径和长度是否同原动机、工作机的直径和轴伸长度尺寸相符。一般选型时,让原动机和工作机端半联轴节长度小于其轴伸长度10— 30mm为好。 2. 为了便于安装,最好是将两个半联轴节放在120--150的保温箱或油槽中进行预热,使内孔尺寸涨大很容易装上。安装后保证轴头不能凸出半联轴节端面,以 齐平为好。 检测两半联轴节之间的距离:沿半联轴节的法兰盘两内侧测出3--4点的读数取平均值,及加长段与两个膜片组实测尺寸之和,两者误差控制在0—0.4mm范 围之内。
3. 找正:用百分表检测两半联轴节法兰盘端面和外圆跳动,当法兰盘外圆小于250mm时跳动值应不大于0.05mm;当法兰盘外圆大于250mm时,跳动值应不大于0.08,测量方法参见 图1、图2 。
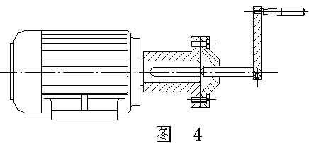
4.安装螺栓:把螺栓从法兰盘小孔外侧穿入,从另一件法兰盘大孔外侧穿出套上缓冲套、弹性垫圈、扭上螺母,用扳手将螺母把紧。如安装不适或拆除更换,又不损伤轴及半联,请按 图3至图7 作工具并安装。安装完毕后,转动自如无别劲为好。 5. 操作工须知:在启动设备前应先检查联轴器的螺母是否有松动或脱落,如有要及时将螺母用扳手把紧。应先空载启动设备1分钟后将负载管线阀门打开;停机顺序相反。(请每月将联轴器外部用机油涂刷一遍)
6、实践证明,如按说明及要求进行安装、维护、操作、膜片联轴器的日启动次数在1--5次,膜片的使用寿命最少5年以上.如不按说明书的要求进行安装、维护、操作,特别是螺栓方向装错使膜片变形或原动机与工作机两轴轴心偏移过大都会使膜片提前损坏。
